Рис.4.22. Коробка отбора мощности
1 -ведущая шестерня, 2-промежуточный вал, 3-скользящий блок шестерен, 4-вторичный вал, 5-валик переключения

Коробка отбора мощности двухскоростная, реверсивная, с ее помощью осуществляется вращение барабана как на подъем инструментов и приборов, так и на их принудительный спуск.
Ведущая шестерня 1 постоянно зацеплена с шестерней третьей передачи промежуточного вала коробки передач транспортера и блоком шестерен промежуточного вала 2 КОМ. Включение передач "на спуск" или "на подъем" в КОМ осуществляется передвижением скользящего блока шестерен 3 вторичного вала 4.
При включении КОМ "на спуск" скользящий блок 3 сцеплен с блоком шестерен промежуточного вала 2, при включении КОМ "на подъем" - непосредственно с ведущей шестерней 1.
Перемещение блока шестерен 3 осуществляется с помощью вилки, установленной на валике переключения 5. Управление КОМ производится рукояткой, выведенной в кузове установки и размещенной в рабочей зоне оператора.
Коробка передач
Коробка передач установки (рис.4.23) двухскоростная, двухвальная. Состоит из шестерен 1 и 2, зафиксированных на ведущем валу 3 и скользящего блока шестерен 4 на ведомом валу 6. Корпус коробки 7 сварной, выполнен заодно со станиной лебедки и закрыт сверху крышкой 8 с сапуном 9.
Шестерня 5 на ведомом валу коробки зацепляется с шестерней, прикрепленной к барабану лебедки.
Управление коробкой осуществляется с помощью валика переключения 10 и установленной на ней вилки 11, перемещающей блок шестерен 4. Валик фиксируется в трех положениях, нейтральном и двух крайних, с помощью подпружиненного шарика 12. Рычаг управления коробкой выведен к посту оператора.

Рис.4.23. Коробка передач установки
1,2,5-шестерни, 3-ведущий вал КП, 4-скользящий блок шестерен, 6-ведомый вал КП, 7-корпус коробки, 8-крышка, 9-сапун, 10-валик переключения, 11-вилка, 12-подпружиненный шарик
Лебедка
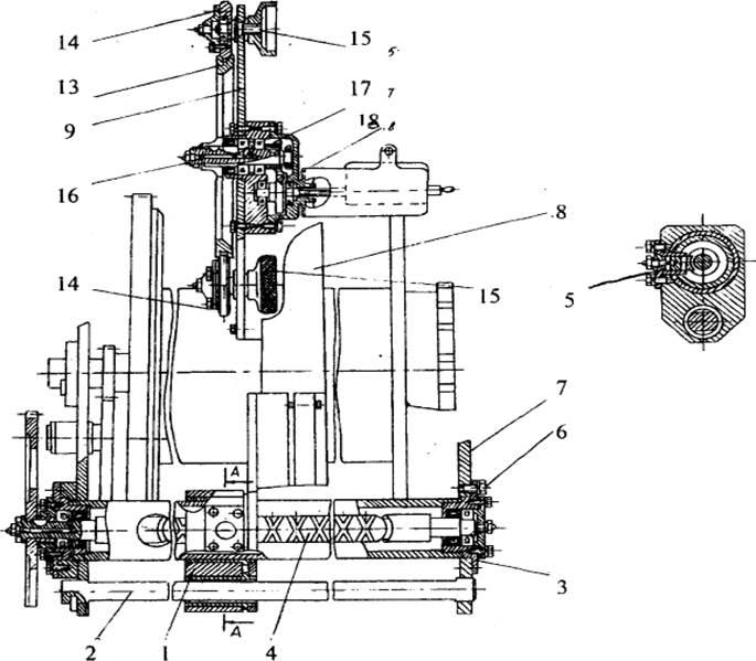
Лебедка (рис.4.24 и 4.25) состоит из сварной станины 1, в которой установлены барабанный вал 2 и механизм укладки проволоки 3. К станине сверху прикреплен щиток управления 6, на котором установлены рычаг 8 регулирования частоты вращения двигателя, тумблеры включения зажигания, стартера и звукового сигнала автомобиля, сигнальные лампы перегрева воды в системе охлаждения, отсутствия давления в системе смазки двигателя и превышения допустимого натяжения проволоки. Лебедка имеет механизм ручного привода 4 и храповое устройство 10, предотвращающее произвольное вращение барабана на спуск. Рычаги управления механическим тормозом 7 и коробкой передач 9 лебедки выведены в зоны, доступные оператору с рабочего места. Привод 11 укладчика проволоки закрыт кожухом 5.
|
|
| Рама лебедки |
Рис.4.24. Лебедка
1-сварная станина, 4-механизм ручного привода, 5-кожух, 6-щиток управления 8-рычаг регулирования частоты вращения двигателя, 9-рычаг управления коробкой передач, 11-привод укладчика проволоки

Рис.4.25. Лебедка
2-барабанный вал, 3-механизм укладки проволоки, 7-рычаг управления механическим тормозом, 10-храповое устройство
Барабанный вал (рис.4.26). Барабан 1 сварной конструкции установлен на оси 2 на подшипниках 3. Ось закреплена на боковых листах станины лебедки 4 гайкой 5 и удерживается от вращения ригелем 6. К правой реборде барабана крепится приводное зубчатое колесо 7. К левой реборде прикреплен тормозной барабан 8, на наружной поверхности которого нарезаны зубья храпового устройства. Подшипниковые узлы барабана имеют внутри лабиринтные уплотнения, а снаружи герметизированы манжетами 9. Правая подшипниковая крышка выполнена заодно с ведущей шестерней укладчика проволоки 10. Масленки 11 служат для подачи консистентной смазки в подшипниковые узлы.

Рис.4.26. Барабанный вал
1-барабан, 2-ось вала, 3-подшипник, 4-боковые листы станины лебедки, 5-гайка, 6-ригель, 7-приводное зубчатое колесо, 8-тормозной барабан, 9-манжеты, 10-ведущая шестерня укладчика проволоки, 11 -масленки
Укладчик проволоки (рис.4.27, 4.28 и 4.29) состоит из каретки 1, перемещающейся возвратно-поступательно по направляющим - скалке 2 и трубе 3. Внутри трубы смонтирован приводной винт 4 укладчика. Связь каретки с винтом осуществляется посредством съемного поводка 5. Труба и винт установлены в крышках 6, прикрепленных к боковым листам 7 станины лебедки.
К корпусу каретки с помощью клеммного зажима прикреплена труба 8, на которой подвешен мерительный механизм. Щека 9 со смонтированными деталями мерительного механизма, через ограничитель 10 связана с ползуном 11, скользящим внутри трубы 8. Пружина 12 поддерживает ползун 11, а с ним и весь мерительный механизм в верхнем положении, разгружая детали укладчика от усилия натяжения проволоки.
Мерительный механизм состоит из шкива 13, по дну канавки которого навивается рабочая проволока. -Для предотвращения выпадания проволоки в верхней и нижней части шкива установлены ролики 14, фиксирующиеся гайками 15. Шкив 13, посаженный на вал 16 через понижающий редуктор с шестеренями 17 и 18 приводит во вращение валик счета оборотов.
Диаметр канавки шкива 13 и передаточное число пары 17 подобраны таким образом, что один оборот валика счетчика соответствует 1 метру смотанной или намотанной проволоки. Установка комплектуется мерительным шкивом для работы с проволокой диаметром 1,8 мм. При использовании проволоки других диаметров необходимо учитывать погрешность измерения счетчика глубины. Так, при применении проволоки диаметром 2,0 мм погрешность измерения составит 0,08 м на каждые 100 м глубины скважины.
Винт 4 получает вращение от барабанного вала с помощью двух пар зубчатых колес. Передаточное число между барабаном и винтом выбрано таким, что за один оборот барабана каретка с мерительным механизмом передвигается вдоль оси барабана на диаметр проволоки.
На щеке 9 смонтирован механизм контроля величины натяжения рабочей проволоки в процессе спускоподъемных операций. Механизм обеспечивает подачу звуковой и световой сигнализации при достижении заданного натяжения проволоки и автоматическую остановку лебедки при достижении предельно допустимого натяжения.
|
|
Механизм состоит из пары роликов 19 и 20 и подвижного ролика 21. Последний установлен на подпружиненной подвижной оси 22, имеющей направление в бобышке 23.
| А-А |
Рис.4.27. Укладчик проволоки
1-каретка, 2-скалка, 3,8-трубы, 4-винт, 5-съемный поводок, 6-крышки, 7-боковые листы станины лебедки, 9-щека, 13-шкив, 14-прижимные ролики, 15-гайки, 16-вал, 17,18-шестерни
|
|
| 22 |
Рис.4.28. Укладчик проволоки
13-шкив, 14-прижимные ролики, 19,20-ролики, 21-подвижной ролик, 22-подвижная ось, 23-бобышка, 24-пружина,



