Устройство и работа основных узлов и систем агрегата
Коробка отбора мощности
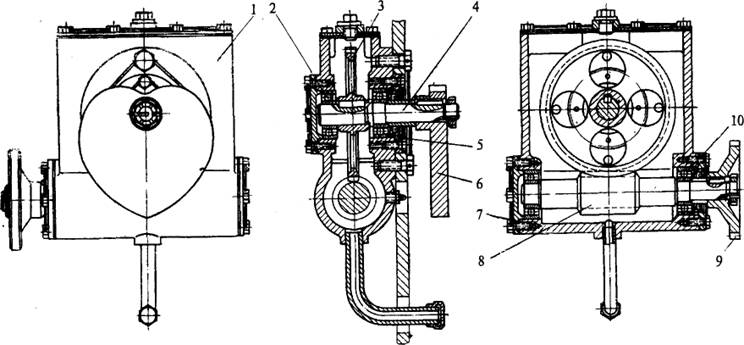
Коробка отбора мощности (рис.4.3) имеет две передние передачи и одну заднюю.
Привод коробки отбора мощности осуществляется от шестерни 9 третьей передачи промежуточного вала коробки передач. С этой шестерней в постоянном зацеплении находится большая шестерня 10 блока шестерен, вращающегося на роликовом подшипнике 11, установленном на оси 12.
Включение соответствующей передачи производится перемещением скользящей шестерни 13 вдоль шлицев выводного вала 14, установленного в картере на роликовых подшипниках 8 и 15.
В верхней части картера на двух бронзовых втулках 1 установлен промежуточный вал 2, на который насажены три шестерни 3,5,6.
Передвижение шестерни 13 производится при помощи вилки 16 на валике 17, установленном в боковой крышке 18 коробки.
Во избежание течи масла и загрязнения трущихся поверхностей передний конец валика 17 закрыт металлическим чехлом 19, а с другой стороны установлен сальник 7.

Рис.4.3. Коробка отбора мощности
1-бронзовая втулка, 2-промежуточный вал, 3,5,6,9,10-шестерни, 4,8,11,15-роликовые подшипники, 7-сальник, 12,21-оси, 13-скользящая шестерня, 14-выводной вал, 16-вилка, 17-валик, 18-боковая крышка, 19-металлический чехол, 20-кронштейн, 22-рычаг
При неработающей лебедке рычаг управления коробкой фиксируется в нейтральном положении фигурной пластиной.
Управление коробкой отбора мощности производится при помощи рычага 22 с места водителя автомобиля. Нижний конец рычага связан с валиком 17. На валике закреплена вилка 16, перемещающая скользящую шестерню 13 вдоль шлицев выводного вала 14.
Закрепление положения валика производится шариковыми фиксаторами.
Узел цепной передачи
В нижней части кронштейна 1 (рис.4.4) на двух сферических шарикоподшипниках 2 установлен вал 3, на который насажено цепное колесо 4. От него вращение цепью 8 передается на трансмиссионный вал лебедки. Конец этого вала при помощи карданного вала 5, закрытого кожухом 6, соединяется с коробкой отбора мощности. Натяжение цепи регулируется устройством 7.

Рис.4.4. Узел цепной передачи
1-кронштейн, 2-сферический подшипник, 3-вал, 4-цепное колесо, 5-карданный вал, 6-кожух, 7-натяжное устройство, 8-цепь
Лебедка
Лебедка состоит из следующих узлов:
- барабанного вала;
- трансмиссионного вала;
- тормозного устройства с храповым механизмом;
- ручного привода;
- червячного редуктора;
- укладчика проволоки с мерительным механизмом.
Одним из основных узлов лебедки (рис.4.5) является
барабанный вал 5. Ось вала одним концом закреплена в станине 6, а другим - в тормозном диске, на котором смонтирован узел тормоза 4.
В нижней части станины на подшипниках качения установлен трансмиссионный вал 7. В верхней части станины укреплен узел ручного привода 3. На передней стенке находится червячный редуктор и узел укладчика проволоки 2. На задней стенке станины укреплена рукоятка включения шестерни трансмиссионного вала, а на противоположной стороне - рукоятка 1 управления фрикционной муфтой.

Рис.4.5. Лебедка
1-рукоятка, 2-узел укладчика проволоки, 3-узел ручного привода, 4-узел тормоза, 5-барабанный вал, 6-станина, 7-трансмиссионный вал, 8-рукоятка, 9-валик

Рис.4.6. Управление фрикционной муфты
1-рычаг, 2,4-подшипники, 3-валик, 5-регулирующая тяга
Включение шестерни производится при помощи рукоятки 8 на валике 9. Валик проходит через заднюю стенку станины лебедки. На другой конец валика посажена вилка, перемещающая скользящую шестерню трансмиссионного вала. Положение рукоятки стабилизируется при помощи фиксатора.
Управление фрикционной муфтой (рис.4.6) осуществляется рычагом 1, сконструированном на валике 3. Валик укреплен на задней стенке станины при помощи двух подшипников 2 и 4. На другой конец валика приварен кривошип, связанный регулирующей тягой 5 с кривошипом гайки фрикционной муфты.
Винт фрикционной муфты, являющийся одновременно и крышкой подшипника, крепится к корпусу шестью болтами и удерживается крышкой от проворачивания.
В сборку барабанного вала (рис.4.7) входит барабан 2, свободно сидящий на оси 5, которая на двух шарикоподшипниках 3 закреплена в станине лебедки. К одной щеке барабана шестью болтами прикреплена крышка-шестерня 1, передающая вращение на червячный редуктор укладчика проволоки. К другой щеке барабана прикреплен двенадцатью болтами зубчатый венец 4, зацепляющийся с передвижной шестерней трансмиссионного вала.

Рис.4.7. Сборка барабанного вала
1-крышка-шестерня, 2-барабан, 3-подшипник, 4-зубчатый венец, 5-ось

1-скользящая шестерня, 2-трансмиссионный вал, 3-подшипник, 4-зубчатый венец, 5-цепное колесо, 6,8-ведомые диски, 7-ведущий диск,
9-пружина, 10-гайка, 11-винт
Рис.4.8. Трансмиссионный вал
Трансмиссионный вал 2 (рис.4.8) закреплен в станине лебедки на двух подшипниках качения 3. На нем установлена скользящая шестерня 1. На другом конце вала на двух шарикоподшипниках свободно сидит зубчатый венец 4, на котором двенадцатью винтами закреплено цепное колесо 5.
Внутри зубчатого венца помещен ведущий диск 7 фрикционной муфты. На шлицы вала насажены ведомые диски 6 и 8, между которыми находится пружина 9. Включение муфты производится винтом 11 и гайкой 10.
Тормоз (рис.4.9). Тормозные колодки 10, стянутые пружиной 11 свободно посажены отверстиями на бронзовые эксцентриковые шайбы 4, связанные с опорными пальцами 5. Пальцы установлены в тормозном диске 7 и затянуты гайками 6. Наружные концы этих пальцев имеют головки под ключ и метки на торце для установки колодок при регулировке. От боковых перемещений колодки удерживаются ограничителями 8. На колодки прикреплены накладки из асбестовой ленты. Для управления тормозом служит рычаг 2, сидящий на валике 9. Рычаг в заторможенном состоянии стабилизируется фиксатором 1 и зубчатым сектором 3.
Разжимное устройство состоит из валика 9 на двух подшипниках скольжения в корпусе. На валик посажен на шпонке рычаг 2 с фиксатором 1. При движении рычага вправо кулачки разжимаются и происходит торможение.
Собачка1 (рис.4.10) свободно сидит на оси 2 и прижимается пружиной 3 к храповику колеса. К внутреннему концу оси собачки приварена шпонка, которая входит в прорезь на собачке. На другом конце оси на шпонке размещена рукоятка 4. При повороте этой рукоятки против часовой стрелки ось собачки поворачивается, выступающим концом приваренной шпонки упирается в выступ на собачке и отводит ее от храпового колеса.
Для управления храповиком служит рукоятка 4, сидящая на оси 2 собачки. При повороте рукоятки в верхнее положение собачка включается, а в нижнее - выключается. Положение рукоятки стабилизируется фиксатором 5.
|
|
| А-А |
Рис.4.9. Тормоз
1-фиксатор, 2-рычаг, 3-зубчатый сектор, 4-эксцентриковые шайбы, 5-опорные пальцы, 6-гайки, 7-тормозной диск, 8-ограничители, 9-валик, 10-тормозные колодки, 11-пружина
Ручной привод лебедки (рис.4.11) состоит из корпуса 3, закрепленного четырьмя болтами к станине лебедки. Внутри корпуса имеется втулка 4, в отверстие которой вставлена шестерня с валиком 5. На конец валика надевается рукоятка 1. Осевым перемещением валика шестерни достигается включение ручного привода в зацепление с зубчатым венцом барабана. Закрепление положения шестерни обеспечивается фиксатором 2.
Червячный редуктор. В нижней части литого корпуса 1 (рис.4.12) на двух шарикоподшипниках 10 установлен червяк 8, на выступающем конце которого сидит шестерня 9. В верхней части корпуса перпендикулярно оси червяка находится червячное колесо 3, жестко закрепленное на валике 4. Валик установлен на двух шарикоподшипниках 2, из которых один закреплен в корпусе, а другой - в крышке 5. На выступающий конец валика посажен кулачок водильника 6. Для регулирования подшипников 2 и 10 служит набор прокладок 7.
Редуктор крепится к станине лебедки шестью болтами и получает вращение от барабана лебедки через блок шестерен.
Укладчик проволоки (рис.4.13). Кривошипы 5, стянутые пружиной 4, прижимаются шарикоподшипниками 6 к кулачку водильника. Нижние концы кривошипов размещены на пальцах 7. К верхним концам кривошипов прикреплена траверса 1, на которой расположена коробка 2 с двумя вертикальными и двумя горизонтальными роликами 3, образующими клетку. Между роликами в клетке проволока проходит на барабан.

Рис.4.10. Собачка 1-собачка, 2-ось, 3-пружина, 4-рукоятка. 5-фиксатор

Рис.4. 11. Ручной привод лебедки
1-рукоятка, 2-фиксатор, 3-корпус, 4-втулка, 5-валик

Рис.4.12. Червячный редуктор
1-литой корпус, 2,10-подшипники, 3-червячное колесо, 4-валик, 5-крышка, 6-водильник, 7-прокладки, 8-червяк, 9-шестерня

Рис.4.13. Укладчик проволоки
1-траверса, 2-коробка, 3-ролики, 4-пружина, 5-кривошипы, 6-подшипники, 7-пальцы
Мерительный аппарат (рис.4.14). Мерительный шкив 9, установленный на двух шарикоподшипниках 8, свободно вращается на оси 7. К ступице мерительного шкива с внутренней стороны прикреплена шестерня 6, являющаяся одновременно и крышкой подшипника.
С этой шестерней в постоянном зацеплении находится другая шестерня 10, сидящая на валу счетчика оборотов 11.

Рис.4.14. Мерительный аппарат
1-нажимные ролики, 2-ось, 3-нажимные клинья, 4-регулировочные винты, 5-колодки, 6,10-шестерни, 7-ось, 8-подшипники, 9-мерителъный шкив, 11-счетчик оборотов, 12-штанги, 13-груз
Диаметр мерительного шкива 9 и передаточное отношение зубчатой пары 6 и 10 подобраны так, что показания счетчика дают целое число метров проходящей через аппарат проволоки. Для того, чтобы проволока не имела проскальзывания относительно мерительного шкива, сверху и снизу него установлены нажимные ролики 1, насаженные на оси 2 на шарикоподшипнике. Нажим роликов производится регулировочными винтами 4, нажимными клиньями 3 и колодками 5.
Мерительный аппарат подвешивается на станине лебедки при помощи двух штанг 12 и уравновешивается грузом 13.
установка АзИНМАШ-8В
Установка АзИНМАШ-8В предназначена для спуска и подъема приборов и инструментов в процессе производства работ по исследованию скважин.
Установка смонтирована на автомобиле УАЗ-452 (рис.4.15) и состоит из следующих основных узлов и систем:
- коробки отбора мощности;
- трансмиссии;
- лебедки с укладчиком проволоки;
- редуктора.
Устройство и работа установки
Основным узлом установки является лебедка 1 (см.рис.4.15), которая трансмиссией 4 связана с коробкой отбора мощности 3, установленной на раздаточной коробке 2 автомобиля.
Для управления лебедкой предназначен узел 5 дубляжа управления сцеплением.
На барабан лебедки намотана проволока, на которой и производят спуск или подъем инструментов. Торможение барабана производится с помощью тормоза. Червячный редуктор приводит в движение укладчик, который наматывает проволоку на барабан. Установка снабжена мерительным механизмом для определения длины проволоки, спускаемой в скважину.

Рис.4.15. Установка для исследования скважин АзИНМАШ-8В
1-лебедка, 2-раздаточная коробка автомобиля, 3-коробка отбора мощности, 4-трансмиссия, 5-узел дубляжа управления сцеплением двигателя автомобиля
Устройство и работа основных узлов установки
Лебедка
Лебедка (рис.4.5) состоит из следующих основных узлов:
- сборки барабанного вала;
- трансмиссионного вала;
- тормоза;
- храпового останова;
- укладчика проволоки;
- ручного привода.
Все ее узлы (кроме трансмиссионного вала) имеют такое же устройство, как и у установки АзИНМАШ-8А.
Трансмиссионный вал (рис.4.16) установлен в станине на двух подшипниках 2.
На консольном конце вала предусмотрен фланец 3, соединяющийся с фланцем 4 карданного вала.
Ведущая шестерня 1 установлена на шлицах вала 5 и может передвигаться на них для включения или выключения привода барабана.
Трансмиссия
Узел трансмиссии (рис.4.17) включает коробку отбора мощности 3, установленную на раздаточной коробке 1 автомобиля, карданный вал 2, соединяющий коробку отбора мощности с трансмиссионным валом лебедки и систему управления 4. Последняя включает систему кривошипов и тяг, с помощью которых производится включение коробки отбора мощности и переключение в ней скоростей.

Рис.4.16. Трансмиссионный вал
1-ведущая шестерня, 2-подшипники, 3-фланец, 4-фланец карданного вала, 5-вал
|
|
Рис.4.17. Узел трансмиссии
|
|
| откл. |
1-раздаточная коробка, 2-карданный вал, 3-коробка отбора мощности, 4-система управления

Рис.4.18. Коробка отбора мощности
1-нижний вал, 2-паразитная шестерня, 3,4-передвижной блок шестерен, 5-блок-шестерня, 6-шестерня, 7-шестеренный насос
установка ЛСВ-6
Установка ЛСВ-6 предназначена для спуска и подъема на проволоке приборов и инструментов, используемых при гидродинамических исследованиях скважин и других сква-жинных работах.

8 9
Рис.4.19. Установка для исследования скважин ЛСВ-6
1-гусеничный транспортер ГАЗ-71, 2-лебедка, 3-узел привода лебедки, 4-механизм дублирования муфтой сцепления, 5-механизм дублирования дроссельной заслонкой, 6-кузов, 7-стеллаж, 8-отопитель, 9-устройство для направления проволоки, 10-инструментальный ящик, 11-устьевой ролик 12-сидение оператора, 13- столик.



