Установки для транспортировки топлива и масел и проведения заправочно-смазочных работ
АВТОТОПЛИВОЦИСТЕРНА АЦММ-4-157К
Автотопливоцистерна АЦММ-4-157К предназначена для транспортировки топлива и масел и проведения заправочно-смазочных работ.
Устройство и работа цистерны
Автотопливоцистерна АЦММ-4-157К (рис.7.31) смонтирована на шасси автомобиля ЗИЛ-157КД и состоит из следующих узлов и систем: - цистерны;
- топливного трубопровода;
- маслобака;
- трубопровода масляной системы.
Автотопливоцистерна может осуществлять следующие операции:
-транспортировать топливо (бензин, керосин, дизельное топливо) и масло;
- заправлять оборудование топливом и маслом;
- перекачивать топливо и масло из одной емкости в другую, минуя свои емкости;
- разогревать масло в холодное время года.

Рис.7.31. Автотопливоиистерна АЦММ-4-157К.
1-шасси автомобиля ЗИЛ-157КД, 2-эаземление, 3-иистерна, 4-топливный трубопровод, 5-трубопровод слива отстоя, 6-горловина цистерны, 7-маслобак, 8-боковой ящик, 9-масляная система, 10-насос, 11-передний ящик, 12-трубопровод системы отработанных газов
Основная емкость - цистерна 3, предназначена для топлива, расположена на раме шасси 1.
Вторая емкость - бак 7, располагается между рамой шасси и цистерной 3.
В нижней передней части цистерны 3 расположен отстойник 5 с грязепроводом.
В средней части автотопливоцистерны под левым боковым ящиком 8 расположены топливная и масляная арматуры, позволяющие выполнять различные рабочие операции.
Перекачивание топлива осуществляется самовсасывающим вихревым насосом СВН-80А (правого вращения), установленным на специальных салазках и приводится в действие двигателем базового автомобиля через коробку отбора мощности КОМ-2. Салазки прикреплены к раме шасси с правой стороны. Перекачивание масла производится самовсасывающим ротационно-зубчатым насосом 10 марки Ш8-25, приводимым в действие двигателем базового автомобиля через раздаточную коробку и коробку отбора мощности КОМ-1.
Насос устанавливается на кронштейне, который крепится к раме шасси под цистерной.
Автотопливоцистерна оборудована противопожарными и заземляющими средствами, снабжена рукавами и наконечниками, необходимыми для выполнения всех работ, производимых автотопливоцистерной.
Рукава и необходимые для их соединения принадлежности размещены в левом и правом боковых ящиках.
Устройство и работа основных узлов и систем автотопливоцистерны.
Цистерна
Цистерна (рис.7.32) служит для хранения и транспортировки топлива.
Корпус цистерны сварен из листовой стали. Обечайка 2 цистерны изготовлена из листа толщиной 3 мм, днища 1 и 10 из листа 4 мм.
Для понижения центра тяжести цистерна в поперечном сечении имеет овальную форму.
| движения автомобиля. Для удобства монтажа каждый волнорез выполнен из 4-х частей. |
Жесткость цистерны обеспечивается штампованными днищами и угольниками жесткости 5, к которым крепятся волнорезы 12. Волнорезы служат для уменьшения гидравлических ударов о днище цистерны при изменении скорости
|
|
Рис.7.32. Цистерна
1-переднее днище, 2-обечайка, 3-напорный патрубок, 4-заборная труба, 5-угольник жесткости, 6-горловина, 7-фланец горловины, 8-указатель уровня 9-воздухоотводящие трубы, 10-заднее днище, 11-основание поручня, 12-волнорезы, 13-опора цистерны, 14-кронштейн, 15-обечайка отстойника, 16-крышка отстойника, 17-заборный фильтр, 18,19-фланцы
В верхней части цистерны приварена обечайка наливной горловины 6 с фланцем 7. На внутренней стороне обечайки горловины приварен мерный уголок 8, до уровня которого заполняется цистерна. Цистерна оборудована воздухоотводящими трубками 9, исключающими возможность образования воздушных мешков при ее заполнении.
Внутри цистерны смонтирована заборная труба 4 с заборным фильтром 17, опущенным в отстойник.
Входные отверстия фильтра находятся на уровне нижнего края цистерны.
В нижней части цистерны приварены:
- фланец 19 напорного трубопровода с Г-образным напорным патрубком 3;
- фланец 18 заборного трубопровода, соединенного с заборной трубой с помощью болтов;
- обечайка отстойника 15;
- крышка отстойника 16.
С наружной стороны цистерны вдоль нее приварены основания 11, в которых крепятся поручни для удобства входа на боковые площадки при обслуживании цистерны. К нижней части цистерны приварены восемь опор, которыми она крепится к продольным брусьям, брусья крепятся к раме шасси стремянками. Для предотвращения сдвига цистерны в продольном направлении задняя опора цистерны дополнительно крепится к раме болтами через два кронштейна. К опорам 13 приварены кронштейны 14 для крепления боковых ящиков.
Наливная горловина с оборудованием (рис.7.33) предназначена для заливки топлива в цистерну, замера его количества, а также является емкостью для компенсации температурных расширений топлива.
Размеры наливной горловины позволяют производить монтажные и другие работы внутри цистерны. Крышка горловины 3 крепится к фланцу обечайки горловины. Для обеспечения герметичности между крышкой и фланцем горловины установлена прокладка 10 из маслобензостойкой резины. На крышке горловины расположены:
- наливной люк с крышкой 5;
- смотровой люк 7 с крышкой 8;
- реечный указатель уровня 6;
- два дыхательных клапана 4.
Коробка отбора мощности
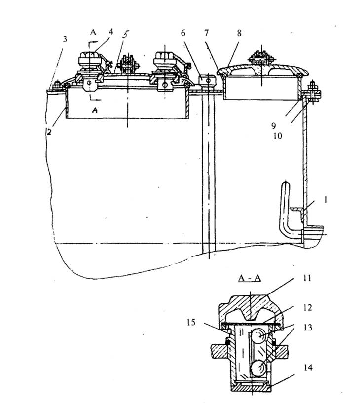
На коробке передач автомобиля с правой стороны по ходу машины установлена коробка отбора мощности КОМ-2 (рис.7.34). Она предназначена для привода насоса СВН-80А.
Коробка отбора мощности устанавливается на фланец правого люка коробки передач на шпильках.
Ведущий блок шестерен 12 установлен на неподвижной оси И, на роликовых подшипниках 13.
Главный вал вращается на двух шариковых подшипниках 6.
По шлицам главного вала скользит шестерня 5.
На выходе вала, уплотненного самоподвижным сальником 7, имеется фланец 9, к которому крепится карданный вал 14 для привода насоса СВН-80А.
|
|
Рис.7.33. Оборудование горловины
1-мерный люк, 2-наливной люк, 3-крышка горловины, 4-дыхательный клапан, 5-крышка наливного люка, 6-указатель уровня, 7-смотровой люк, 8-крышка смотрового люка, 9-прокладка, 10-6олты крепления, 11-крышка, 12-сетка, 13-шарики, 14-дно, 15-корпус клапана
Коробка отбора мощности включается вилкой 3, неподвижно закрепленной на штоке переключения 1.
Фиксация штока переключения осуществляется шариковым фиксатором 4 с пружиной. На выходе штока имеется сальник 2.
Все шестерни механизма коробки имеют прямые зубья. Управление коробкой отбора мощности осуществляется рычагом из кабины водителя.
|
|
Рычаг в нейтральном положении запирается замком-задвижкой, установленным на полу кабины. При установке коробки отбора мощности ведущая шестерня блока входит в постоянное зацепление с шестерней отбора мощности коробки передач.
Рис.7.34. Коробка отбора мощности и привод к насосу
1-шток вилки включения передач, 2-сальник,3-вилка включения, 4-шарик фиксатора, 5-шестерня включения передач, 6-шариковые подшипники, 7-сальник, 8-главный вал, 9-фланец, 10-ось шестерни постоянного зацепления, 11-ось блока шестерен, 12-блок шестерен, 13-роликовый подшипник, 14-карданный вал
Насос СВН-80А
Основными деталями насоса являются: всасывающая секция 15 (рис. 7.35), напорная секция 1, колесо 2, вал 9,
торцовое уплотнение 21. Секция всасывания 15 имеет тангенциальный подвод к колесу 2.
Секция напорная 1 имеет тангенциальный отвод для жидкости, отвод для воздуха, рабочий канал и глухой канал. Вал 9 опирается на шариковые подшипники 11, 20. Шарикоподшипники закрываются крышками задней, глухой 22 и передней 8. Вал 9 уплотняется двумя торцовыми уплотнениями 21. Герметичность насоса обеспечивается прокладками 12, 16, 17. Утечки отводятся через отверстия во всасывающей и напорной секциях.
В момент пуска жидкость, имеющаяся в насосе, захватывается колесом 2 через окно и отбрасывается по каналу переменного сечения в напорную секцию. За счет вытесненной жидкости в насосе образуется вакуум. Одновременно часть жидкости направляется в глухой канал, из которого вытесняется в межлопаточное пространство колеса, вытесняя, в свою очередь, воздух в отвод для воздуха, затем снова поступает в рабочий канал. Этот процесс продолжается до тех пор, пока весь воздух будет откачан из всасывающего трубопровода и на его место поступит перекачивающая жидкость.
Поступившая в насос жидкость, при прохождении через колесо 2, приобретает энергию и поступает в напорный трубопровод. Освободившееся пространство немедленно заполняется новой порцией жидкости. Этот процесс при работе насоса происходит непрерывно. Путь жидкости в насосе показан на рис.7.35 стрелками.
Трубопроводы топливной системы
На салазках 17 (рис.7.36), прикрепленных с правой стороны рамы шасси, установлен насос 16. От насоса на левую сторону автомобиля выведены всасывающий 7 и напорный 15 трубопроводы.
Напорный трубопровод заканчивается задвижкой 14 с патрубком. К патрубкам всасывающего и напорного трубопроводов присоединяются напорно-всасывающие рукава. Патрубки закрываются заглушками 13. Напорный и всасывающий трубопроводы через патрубки и задвижки2,3 соединены с цистерной. Маховички задвижек для удобства обслуживания выведены на левую сторону под левый боковой ящик при помощи удлинителей 5.
Напорный трубопровод 15 соединен через трубопровод 4, фильтр 8, счетчик 10, переходник 11 и вентиль 12 с раздаточным рукавом. Дифманометр 9 служит для измерения перепада давления в фильтре.
|
|
Рис.7.35. Насос СВН-80А
1-напорная секция, 2-колесо, 3,4-шайбы, 5-гайка, 6,27-шпильки, 7-корлус подшипника, 8-передняя крышка подшипника, 9-вал, 10-отбойник, 11,20-подшипники, 12, 16, 17,19- прокладки, 13-штифт, 14-шпонка, 15-всасы-вающая секция, 18-пробка, 21-торцовое уплотнение, 22-крышка подшипника, 23-стопорное кольцо, 24,25-шайбы, 26-гайка, 27-шпилька
|
|
Рис. 7.36. Трубопровод и насос.
1-предохранительный клапан, 2-задвижка "из цистерны", 3-задвижка "в цистерну", 4-трубопровод, 5-удлинитель, 6- трубка, 7-всасывающий трубопровод, 8-фильтр, 9-манометр, 10-счетчик, 11-переходник, 12-вентиль, 13-заглушка, 14-задвижка, 15-напорный трубопровод, 16-насос, 17-салазки
Фильтр
Фильтр предназначен для очистки бензина, керосина и дизельного топлива от технических примесей.
Фильтр (рис.7.37) состоит из стального корпуса сварной конструкции, крышки и фильтрующего пакета.
Корпус фильтра состоит из обечайки 1, приемного патрубка 2, днища 9 и центральной трубки в сборе 10. Внутри корпуса устанавливается фильтрующий пакет, состоящий из фильтрующего чехла 6, коллектора с сеткой 8 и ремня в сборе 5. Сверху на корпус одевается крышка 3, которая крепится шестью откидными болтами. Стык крышки с корпусом уплотняется прокладкой 4. В верхней части крышки имеется кран 7 для выпуска воздуха. Топливо через приемный патрубок 2 попадает в корпус фильтра. Пройдя через фильтрующий пакет, очищенное топливо попадает в центральную трубку 10, из которой поступает на раздачу.
|
|
| 10 |
Рис.7.37. Фильтр
1-обечайка, 2-входной патрубок, 3-крышка, 4-прокладка, 5-ремень, 6-фильтрующий пакет. 7-кран, 8-коллектор с сеткой, 9-днище, 10-центральная труба
Отстойник и трубопровод слива отстоя
Отстойник (рис.7.38) служит для сбора влаги и взвешенных в топливе частиц. Отстойник состоит из корпуса, вваренного в нижнюю часть цистерны и крышки 1, к которой приварен патрубок 2. На патрубок навинчивается вентиль 3 со сливной трубой 8.

Рис. 7.38. Трубопровод слива отстоя
1-крышка отстойника, 2-патрубок, 3-вентиль, 4-удлинитель, 5-маховичок вентиля, 6-заглушка, 7-хомут, 8-сливная труба
Маховичок 5 вентиля выведен на левую сторону с помощью удлинителя 4. На конце сливной трубы установлена заглушка 6. Сливная труба крепится к кронштейну основного бензобака хомутом 7.
Маслобак
Маслобак (рис.7.39) предназначен для транспортировки, хранения и подогрева масел. Масло в баке подогревается отработанными газами двигателя автомобиля.
Корпус маслобака сварен из листовой стали. Обечайка 4 - из листа толщиной 2 мм, днища 6 и 17 - из листа толщиной 3 мм.
Жесткость бака обеспечивается штампованными днищами, которые привариваются к обечайке. Внутри бака проходит жаровая труба 5, которая соединена с выхлопной трубой двигателя.
К переднему днищу маслобака приварены труба забора масла 22 с фланцем для присоединения задвижки, напорная труба 21 и штуцер датчика дистанционного термометра 20.
На заднем днище находится наливная горловина 13 (закрытая заглушкой 12), крышка смотрового люка 19.
Смотровой люк предназначен для чистки и промывки маслобака. В передней части маслобака имеется воздухоотводящая трубка 8. При монтаже трубка вводится в левый боковой ящик.
В средней части бака вварен штуцер 10 щупа 11, а в передней нижней части обечайки - отстойник 7, над которым расположен конец заборной трубы для более полного забора масла. В задней нижней части обечайки маслобака находится бобышка для присоединения сливного трубопровода. Сливной трубопровод состоит из вентиля 2 и сливной трубы 16, закрытой заглушкой.
Удлинитель вентиля 15 выведен на заднюю поперечину автомобиля. Для сохранения температуры нагретого масла наружная поверхность маслобака имеет теплоизоляцию толщиной 20 мм. Теплоизоляция состоит из деревянного каркаса, минеральной ваты 18, заполняющей пространство между брусьями каркаса и наружной облицовки из листовой стали.
Продольные брусья 1 каркаса крепятся болтами к бобышкам 3 обечайки маслобака. Поперечные брусья крепятся к продольным гвоздями.

Рис.7.39. Маслобак
1-продольный брус, 2-вентиль, 3-бобышка, 4-обечайка, 5-жаровая труба, 6-переднее днище, 7-отстойник, 8-воздухоотводящая трубка, 9-пояс крепления бака, 10-штуцер щупа, 11-щуп, \2-заглушка, 13-наливная горловина, 14-выхлопная труба, 15-удлинитель вентиля, 16-сливная труба, 17-заднее днище, 18-минеральная вата, 19-крышка, 20-датчик термометра, 21-напорная труба, 22-заборная труба, 23-пластины
Крепление маслобака осуществляется поясами 9 из листовой стали при помощи специальных болтов, вставленных в продольные брусья крепления цистерны:
Передняя часть маслобака лежит на специальной траверсе, а задняя часть - на задней поперечине рамы автомобиля.
От продольного смещения маслобак удерживают две пластины 23, крепящиеся при помощи болтов к задней поперечине рамы автомобиля.
К заднему фланцу жаровой трубы крепится выхлопная труба 14.
Насос ШВ-25
Насос ШВ-25 (рис.7.40) с механическим приводом, устанавливаемый на автотопливоцистерне, предназначен для выполнения операций по закачке, раздаче, перекачке и перемешиванию масла. По принципу действия шестеренный насос является объемным.
Корпус насоса 5 имеет две расточки, в которых размещаются рабочие части роторов и втулок. Ведущий ротор имеет уплотнение 8, работа которого заключается в следующем.
Перекачиваемая жидкость через зазоры между втулкой 7, корпусом 5 и валом 3 попадает в полость уплотнения вала, откуда по каналам стойки 9 ведомого ротора 1, через разгрузочный клапан попадает в камеру всасывания.
На корпусе 5 расположены разгрузочный клапан 6 и предохранительно-перепускной 10.
Разгрузочный клапан обеспечивает давление в полости уплотнения вала насоса 0,2-0,3 МПа. Регулировка предохранительно-перепускного клапана производится регулировочным винтом 12, который стопорится гайкой 11 и закрывается колпачком 13.
Предохранительно-перепускной клапан отрегулирован заводом-изготовителем насоса на давление полного перепуска не более 1,5Р-нагнетания при вязкости перекачиваемой жидкости 0,75см2/сек. Привод к насосу (рис.7.41) осуществляется от односкоростной коробки отбора мощности 1 (КОМ-1), смонтированной на раздаточной коробке автомобиля ЗИЛ-157КД, при помощи соединительного валика 3 с муфтами 2.
Включение и выключение насоса ШВ-25 производится из кабины водителя рычагом управления КОМ-1. Насос ШВ-25 устанавливается на кронштейн 5, закрепленный на раме.
Трубопроводы масляной системы
К насосу ШВ-25 подсоединены напорный и всасывающий трубопроводы (рис.7.42).

Рис.7.40. Насос ШВ-25
1-ведомый ротор, 2,4,7-втулки, 3-вал, 5-корпус, 6-разгрузочный клапан, 8-уплотнение, 9-стойка, 10-предохранительно-перепускной клапан, 11-гайка, 12-регулировочный винт, 13-колпачок

Рис.7.41, Привод к насосу ШВ-25.
1-коробка отбора мощности, 2-муфты, 3-соединительный валик, 4-насос ШВ-25, 5-кронштейн
Напорный трубопровод состоит из напорной трубы 1, вентиля 4, трубы 8, вентиля 11 и напорного патрубка 10, закрытого заглушкой. Напорный трубопровод разветвляется на две ветви. Одна ветвь идет в маслобак, вторая ветвь заканчивается напорным патрубком, к которому присоединяется раздаточный рукав. Всасывающий трубопровод состоит из всасывающей трубы 2, задвижки 3 и трубы 7, закрытой заглушкой. Всасывающий трубопровод имеет две ветви. Одна ветвь соединяет всасывающий патрубок насоса Ш8-25 с задвижкой 3 и заборной трубой маслобака. Вторая ветвь через трубу 1 соединяет насос со всасывающим рукавом. Напорный и всасывающий трубопроводы соединены между собой вентилем 9, который открывается при необходимости отсоса масла из раздаточного рукава.
Для удобства обслуживания вентиль 4 и задвижка 3 соединены с удлинителями 6 и 5. Напорный трубопровод трубкой 12 соединен с манометром, который установлен в левом боковом ящике в специальном кронштейне.
Система отвода отработанных газов
Для подогрева масла в маслобаке используются отработанные газы двигателя.

Рис.7.42. Трубопроводы масляной системы
1-напорная труба, 2-всасывающая труба, 3-задвижка "из бака", 4-вентиль "в бак", 5,6-удлинители, 7,8-трубы, 9-вентиль "отсос", 10-напорный патрубок, 11-вентиль "на раздачу", 12-трубка к манометру
Система отвода отработанных газов состоит из переключателя отработанных газов 3 (рис.7.43), трубы 1 подвода отработанных газов к маслобаку, трубы 5 подвода отработанных газов к глушителю, глушителя 4 и рычага управления заслонкой переключателя 2.
Труба 1 подвода отработанных газов с двух сторон оканчивается фланцами для присоединения к корпусу переключателя отработанных газов и трубе подогрева маслобака.
Для обеспечения пожарной безопасности и сохранения температуры отработанных газов труба подвода отработанных газов имеет изоляцию. Между фланцами установлены прокладки. В средней части труба прикреплена к правому лонжерону рамы.
Переключатель отработанных газов
Переключатель отработанных газов (рис.7.44) служит для перемены направления потока отработанных газов от двигателя автомобиля. Крепится переключатель выхлопных газов к выхлопному коллектору двигателя при помощи шпилек 8. Он состоит из корпуса 2, крышки 7, заслонки 3, оси 9, рычага 5 и втулок. При положении рычага управления "на себя" отработанные газы идут в глушитель.
При положении рычага управления "от себя" отработанные газы идут через трубу подвода отработанных газов к маслобаку и, проходя через него, выходят в атмосферу. Рычаг переключения 5 крепится к оси 9 при помощи штифта 4. Заслонка 3 укреплена на этой оси с помощью штифтов 6. Для уплотнения стыка корпуса с крышкой установлена прокладка 10.

Рис. 7.43. Трубопроводы системы отработанных газов
1-труба подвода отработанных газов, 2-рычаг управления, 3-переключатель отработанных газов, 4-глушитель, 5-труба к глушителю
Раздаточный кран
В топливной системе автотопливной цистерны в левом боковом ящике находится один раздаточный кран К-25рс, предназначенный для налива топлива (бензина, керосина, дизельного топливо) в тару или баки изделий. Основной механизм крана - тарельчатый клапан 16 (рис.7.45) - заключен в литом алюминиевом корпусе 4.
В корпус 4 ввернут приемный патрубок 5, к которому при помощи накидной гайки подсоединяется раздаточный рукав. Со сливной стороны в корпус ввернут сливной патрубок 15.
Для налива топлива раздаточным краном необходимо опустить сливной патрубок в емкость и нажать на рукоятку 6. При этом толкатель 11 поднимет тарельчатый клапан и топливо будет поступать через сливной патрубок в емкость.
Клапан 16 раздаточного крана можно оставить в открытом положении путем фиксации рукоятки защелкой 9.
По окончании налива рукоятку 6 отпускают.
При зафиксированной рукоятке сначала нажимают на рукоятку, затем отпускают, при этом тарельчатый клапан 6
под действием пружины 2 и давления топлива опустится на седла в корпусе и перекроет подачу топлива.

Рис.7.44. Переключатель отработанных газов
1-втулка, 2-корпус, 3-заслонка, 4,6-штифты, 5-рычаг, 7-крышка, 8-шпилька, 9-ось, 10-прокладка

Рис.7.45. Раздаточный кран
1-пробка корпуса, 2-пружина, 3-прокладка, 4-корпус, 5-приемный патрубок, 6-рукоятка, 7-палец, 8-шплинт, 9-защелка, 10-замочная пружина, 11-толкатель, 12-гайка сальника, 13-плетеная набивка, 14-палец, 15-сливной патрубок, 16-тарельчатый клапан
Раздаточный пистолет
Раздаточный пистолет (рис.7.46) состоит из корпуса 2, патрубка 1, клапана 3 и рычага клапана 4.
При прижатии рычага клапана к корпусу шток отжимает клапан, открывая проход для топлива.
Чтобы не удерживать рычаг клапана в прижатом положении рукой, имеется специальное кольцо 5, которое набрасывается на рычаг клапана.
На корпус пистолета навернут наконечник 6, которым раздаточный пистолет соединяется с раздаточным рукавом.

Рис.7.46. Раздаточный пистолет
1-патрубок, 2-корпус пистолета, 3-клапан, 4-рычаг клапана, 5-колъцо, 6-наконечник
Инструмент, принадлежности, запасные части.
Расположение ящиков для инструментов, рукавов, огнетушителя и т.д. показано на рисунке 7.47.
На автотопливоцистерне имеется три ящика. Передний ящик- слева за кабиной водителя и боковые ящики, закрепленные на кронштейнах, приваренных к опорам цистерны.
В переднем ящике расположены: ведро 2, воронка 3, буксирный трос 11, ящик с комплектом ЗИПа 12.

Рис.7.47. Расположение вспомогательного оборудования и рукавов на автоцистерне
1-огнетушитель, 2-ведро, 3-воронка, 4-фильтрующий чехол, 5-раздаточный рукав, 6,7-наконечники, 8-раздаточный рукав для масла, 9-раздаточный пистолет, 10-раздаточный кран, 11-буксирный трос, 12-ящик с комплектом ЗИП, 13-портфель, 14-всасывающий рукав для масла, 15-приемно-сливной рукав, 16-бидон, 17-ЗИП автомобиля, 18-бидон из ЗИПа, 19-сумка со специальным инструментом, 20-ключ
В передней части левого бокового ящика установлен фильтр тонкой очистки 4, соединенный с напорным трубопроводом топливной системы. За фильтром установлен счетчик, соединенный с фильтром; на другой стороне счетчика закреплен переходник с раздаточным вентилем. На переходнике смонтирован раздаточный рукав 5, раздаточным краном 10. Для предохранения рукава от резкого перегиба при укладке предусмотрены кронштейны. Внутри между кронштейнами на задней стенке ящика крепится наконечник для забора масла из бочек и шланговый наконечник 7 для забора топлива и бочек.
За фильтром и счетчиком на задней стенке ящика крепится дифференциальный манометр. Впереди на специальном кронштейне расположен манометр, соединенный с напорным трубопроводом масляной системы. На полу ящика имеется лопата, прикрепленная при помощи скоб. На рис.7.48 показана схема управления арматурой топливной системы, на рис.7.49-схема управления арматурой масляной системы.

Рис.7.48. Схема управления арматурой топливной системы
1,2,3,4,7 – вентили
| Наименование операций | Открыть задвижки и вентили | |
| Наполнение цистерны топливом с помощью насоса | 1 | |
| Заправка машин фильтрованным топливом с замером раздаваемого количества | 2,4 | |
| Наполнение топливом бочек, бидонов и других емкостей | 2,7 | |
| Слив топлива из цистерны самотеком через два рукава | 1,2,7 | |
| Перекачка топлива из одной емкости в другую минуя свою цистерну | 7 | |
| Перемешивание топлива в цистерне | 1,2 | |

Рис.7.49. Схема управления арматурой масляной системы
1,2,3,4,5 – вентили
| Наименование операций | Открыть вентили задвижки |
| Закачка масла в маслобак | 1 |
| Раздача масла из маслобака | 2,5 |
| Перекачка масла из одной емкости в другую минуя маслобак | 5 |
| Перемешивание масла в баке | 1,2 |
| Отсос масла из раздаточного рукава | 1,4 |
| Слив отстоя из маслобака | 3 |
маслозаправщик МЗ-4310СК
Маслозаправщик предназначен для проведения заправочно-смазочных работ на действующих и вновь вводимых в эксплуатацию станках-качалках и их редукторах, а также для проведения таких же работ на различной технике.






