Поперечные профили земляного полотна
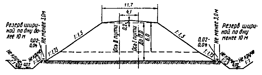
Размеры основной площадки земляного полотна принимаются для линий I, II категорий – 7,6 м; III категории – 7,3 м; IV категории – 7,1 м; для двухпутных линий – 11,7 м.

Рисунок П.6.1. Насыпь высотой до 12 м с шириной основной площадки 7,6 м при поперечном уклоне местности не круче 1:5

Рисунок П.6.2. Выемка глубиной до 12 м с шириной основной площадки 7,6 м при поперечном уклоне местности не круче 1:3

Рисунок П.6.З. Насыпь высотой до 12 м с шириной основной площадки 11,7 м при поперечном уклоне местности не круче 1:5

Рисунок П.6.4. Выемка глубиной до 12 м с шириной основной площадки 11,7 м при поперечном уклоне местности не круче 1:3

1 - двухслойная балластная призма; 2 - защитный слой из дренирующего грунта; 3 - подкюветный дренаж
Рисунок П.6.5. Поперечные профили земляного полотна из глинистых грунтов, крупнообломочных с глинистым заполнителем и легковыветривающихся скальных грунтов в выемке а) и насыпи б)
Приложение 7
к Инструкции по текущему
содержанию железнодорожного пути
Эпюры укладки и схемы разбивки стрелочных переводов
а)
| Центр перевода |

б)

Рисунок П.7.1 – Эпюра укладки (а) и схема разбивки (б) стрелочного перевода типа Р65 марки 1/11 на железобетонных брусьях для скоростного движения. Проект 2726 (мм)
а)
| Центр перевода |

б)

Рисунок П.7.2 – Эпюра укладки (а) и схема разбивки (б) стрелочного перевода типа Р65 марки 1/11 на железобетонных брусьях.
Проект 2750 (мм)
а)

| Центр перевода |
б)

Рисунок П.7.3 – Эпюра укладки (а) и схема разбивки (б) стрелочного перевода типа Р65 марки 1/11 на железобетонных брусьях.
Проекты 2768 и 1740 (мм)
а)

| Центр перевода |
б)

Рисунок П.7.4 – Эпюра укладки (а) и схема разбивки (б) стрелочного перевода типа Р65 марки 1/9 на железобетонных брусьях.
Проекты 2769 и 2215 (мм)
а)

| Центр перевода |
б)

Рисунок П.7.5 – Эпюра укладки (а) и схема разбивки (б) симметричного стрелочного перевода типа Р65 марки 1/6
на железобетонных брусьях для горочных путей. Проект 2628 (мм)
Приложение 8
к Инструкции по текущему
содержанию железнодорожного пути
