2. Эксплуатация нефтяных скважин глубинными насосами. Штанговая глубиннонасосная установка и принцип ее действия. Оборудование насосных скважин. Производительность глубинного насоса.
В мировой практике нефтедобычи получили распространение следующие глубиннонасосные установки:
1) Скважинные штанговые насосные установки (СШНУ).
2) Установки погружных центробежных насосов с электроприводом (УЭЦН).
3) Установки гидравлических поршневых насосов (УГПН).
4) Установки с винтовыми насосами и электроприводом (УЭВН).
5) Установки с диафрагменными насосами и электроприводом(УЭДН).
6) Установки со струйными насосами (УСН).
Не все из перечисленных глубиннонасосных установок играют одинаковую роль в добыче нефти. В нашей стране наибольшее распространение по фонду добывающих скважин получили СШНУ, а по объему добычи — УЭЦН. Это связано с тем, что установки СШНУ предназначены для эксплуатации низко- и среднедебитных скважин, а установки УЭЦН — для эксплуатации средне- и высокодебитных скважин. Остальные установки (УГПН, УЭВН, УЭДН, УСН) ни по фонду добывающих скважин, ни по добыче нефти не могут пока конкурировать с СШНУ и УЭЦН и предназначены для определенных категорий скважин.
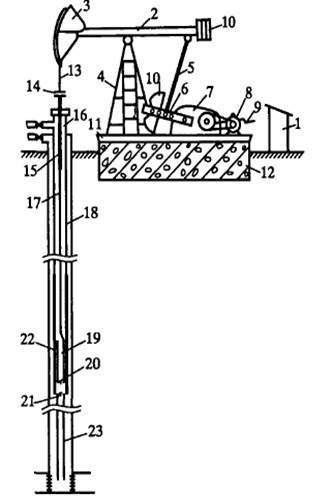
1 — станция управления; 2 — балансир;
3 — головка балансира; 4 — стойка балансира; 5 — шатун; б — кривошип; 7 — редуктор; 8 — приводной двигатель; 9 — тормоз; 10 — противовесы; 11 — металлическая рама; 12 —бетонный фундамент; 13 — канатная подвеска; 14 — траверсы; 15 — полированный шток; 16 — устьевая арматура; 17 — колонн» штанг; 18 — колонна НКТ; 19 — плунжер насоса; 20 — нагнетательный клапан; 21 — всасывающий клапан; 22 — цилиндр насоса; 23 — хвостовик
Схема СШНУ представлена на рис. Оборудование СШНУ состоит из двух частей: наземного и подземного. Наземное оборудование состоит из станка-качалки, привода, станции управ ления и устьевой арматуры. Подземное оборудование включает в себя колонну НКТ, колонну штанг, глубинный насос и, при не обходимости, другие элементы (хвостовик, газовый или газопесочный якорь, якорь для фиксации колонны НКТ в обсадной колонне и т.п.).
Принцип Действия
Как видно из рис. 9.3, при ходе головки балансира вверх плунжер также перемещается вверх; при этом нагнетательный клапан 20 закрывается под действием веса продукции скважины, находящейся в НКТ.При снижении давления в цилиндре насоса до величины, меньшей, чем давление на приеме (давление в скважине перед всасывающим клапаном), всасывающий клапан 21 открывается и цилиндр насоса заполняется скважинной продукцией (такт всасывания). При ходе плунжера вниз давление в цилиндре насоса повышается, всасывающий клапан закрывается, а когда давление в цилиндре насоса (под плунжером) становится большим, чем давление над плунжером, открывается нагнетательный клапан, и продукция из цилиндра через плунжер перетекает в колонну НКТ (такт нагнетания). Затем цикл повторяется.
(Более подробно расписано оборудование СШНУ)
Основным элементом наземного оборудования является станок качалка, состоящий из балансира 2, головки балансира 3, стойки 4, шатуна 5, кривошипа 6, редуктора 7, приводного двигателя 8, тормоза 9 и противовесов 10. Управление наземным оборудованием осуществляется специальной станцией 1. Станок-качалка, редуктор и приводной двигатель монтируются на металлической раме 11, устанавливаемой на бетонном фундаменте 12. Головка балансира 3 имеет канатную под веску 13, соединенную с полированным штоком 15 с помощью траверс 14. Устье скважины оборудовано устьевой арматурой 16. Станок качалка предназначен для восприятия нагрузок, действующих в точке подвеса штанг (ТТШ1) в течение насосного цикла, и преобразования вращательного движения ротора приводного двигателя в возвратно поступательное движение головки балансира. Редуктор 7 предназначен для снижения числа оборотов приводного двигателя 8 и повышения крутящего момента на выходном валу, на котором закреплены кривошипы 6. Кривошипы 6 соединены шатунами 5 с балансиром 2. На входном валу редуктора имеется шкив, соединенный клиноременной передачей со шкивом приводного двигателя 8. В системе имеется также тормоз 9. Приводной двигатель устанавливается и закрепляется на салазках. При необходимости изменения числа качаний балансира заме няется размер шкива на приводном двигателе. Изменение длины хода полированного штока 15 (перемещения головки балансира) осуществляется изменением радиуса кривошипа 6 перестановкой шатуна 5, для чего кривошип имеет несколько отверстий. Кроме того, кривошип имеет устройство, позволяющее перемещать вдоль него противовесы 10, добиваясь наилучшего уравновешивания нагрузок, действующих в ТПШ. Устьевая арматура 16 имеет выкидной манифольд, манифольд затрубного пространства, а также сальниковое устройство, через которое проходит полированный шток 15..
Подземное оборудование включает колонну штанг 17, предназначенную для передачи возвратно-поступательного движения головки балансира плунжеру 19 глубинного насоса, а также для восприятия нагрузок, действующих на штанги в течение насосного цикла. Имеется колонна НКТ 18, на нижнем конце которой закреплен цилиндр насоса 22. Плунжер глубинного насоса имеет один или два нагнетательных клапана 20, а цилиндр насоса — всасывающий клапан 2. К приему насоса закреплен хвостовик 23.
Цилиндр скважинного насоса имеет различное конструктивное оформление, а внутренняя его поверхность тщательно обработана, равно как и наружная поверхность плунжера. Вместе они составляют пару трения.
3. Коэффициент наполнения ШСНУ и факторы, его определяющие. Влияние газа на работу глубинного насоса. Газовые и песочные якоря. Коэффициент подачи глубиннонасосной установки.
Коэффициентом наполнения насоса β называется отношение объема жидкости, поступившей в цилиндр насоса из скважины Vжс при такте всасывания, к объему, описанному плунжером Vs: β = V жс / Vs
Под мертвым пространством насоса Vм будем понимать разность объема цилиндра насоса Кц и объема, описываемого плунжером Vs между нижней и верхней мертвыми точками (объем между всасывающим и нагнетательным клапанами, когда плунжер находится в нижней мертвой точке): V м = V ц - Vs
При выводе зависимости для коэффициента наполнения принимаем следующие допущения:
1. Процесс изотермический.
2. Свободный газ равномерно распределен в жидкости в цилиндре насоса.
3. Процесс растворения свободного газа в жидкости и процесс выделения растворенного газа из жидкости равновесный.
4. Утечки отсутствуют.
Введем следующие обозначения:

где Rц — газовое число в цилиндре насоса при давлении всасывания Рвс;

где RM — газовое число в мертвом пространстве насоса (плунжер находится в НМТ) при давлении нагнетания Рнаг.
и введем следующее обозначение

Коэффициент К называется коэффициентом мертвого пространства и характеризует численно долю мертвого пространства в объеме, описываемом плунжером.
откуда окончательно получаем:

Выражение (9.46) является общей формулой для расчета коэффициента наполнения скважинного насоса в рамках принятых допущений.
Анализ полученного выражения показывает, что мертвое пространство всегда оказывает отрицательное влияние на коэффициент наполнения (т.е. оно является вредным пространством) даже при откачке чистых жидкостей. Поэтому в реальных условиях невозможно получить коэффициент наполнения, равный 1. Количественное же влияние на коэффициент наполнения различных факторов различно. Соотношение Rц и Rм связывает все процессы, происходящие в цилиндре насоса при его работе, и определяет фазовые превращения продукции скважины.
