Проводимость полупроводников, обусловленная атомами примесей в кристалле, называется примесной проводимостью, а сами полупроводники — примесными полупроводниками.
Примесная проводимость обусловлена примесями (атомы посторонних элементов), а также дефектами типа избыточных атомов (по сравнению со стехиометрическим составом), тепловыми (пустые узлы или атомы в междоузлиях) и механическими (трещины, дислокации и т.д.) дефектами. Наличие в полупроводнике примеси существенно изменяет его проводимость. Например, при введении в кремний примерно 0,001 ат.% бора его проводимость увеличивается примерно в 106 раз.
Примесную проводимость полупроводников рассмотрим на примере Ge и Si, в которые вводятся атомы с валентностью, отличной от валентности основных атомов на единицу. Например, при замещении атома германия пятивалентным атомом мышьяка (рис. 10, а) один электрон не может образовать ковалентной связи, он оказывается лишним и может быть легко при тепловых колебаниях решетки отщеплен от атома, т.е. стать свободным. Избыточный положительный заряд, возникающий вблизи атома примеси, связан с атомом примеси и поэтому перемещаться по решетке не может.
С точки зрения зонной теории рассмотренный процесс можно представить следующим образом (рис. 10, б). Введение примеси искажает поле решетки, что приводит к возникновению в запрещенной зоне энергетического уровня D валентных электронов мышьяка, называемого примесным уровнем. Этот уровень располагается от дна зоны проводимости на расстоянии
= 0,013 эВ. Так как
<kT, то уже при обычных температурах энергия теплового движения достаточна для того, чтобы перебросить электроны примесного уровня в зону проводимости. Образующиеся при этим положительные заряды локализуются при этом на атомах мышьяка и в проводимости не участвуют.
Таким образом, в полупроводниках с примесью, валентность которой на единицу больше валентности основных атомов, носителями тока являются электроны; возникает электронная примесная проводимость (проводимость n-типа). Полупроводники с такой проводимостью называются электронными (или полупроводниками n-типа). Примеси, являющиеся источником электронов, называются донорами, а энергетические уровни этих примесей — донорными уровнями.
|
| |
| Рис. 10. Механизм примесной электронной проводимости | Рис. 11. Механизм примесной дырочной проводимости |
Предположим, что в решетку кремния введен примесный атом с тремя валентными электронами, например бор (рис. 11, а). Для образования связей с четырьмя ближайшими соседями у атома бора не хватает одного электрона, одна из связей остается неукомплектованной и четвертый электрон может быть захвачен от соседнего атома основного вещества, где соответственно образуется дырка. Последовательное заполнение образующихся дырок электронами эквивалентно движению дырок в полупроводнике, т. е. дырки не остаются локализованными, а перемещаются в решетке кремния как свободные положительные заряды. Избыточный же отрицательный заряд, возникающий вблизи атома примеси, связан с атомом примеси и по решетке перемещаться не может.
По зонной теории, введение трехвалентной примеси в решетку кремния приводит к возникновению в запрещенной зоне примесного энергетического уровня А, не занятого электронами. В случае кремния с примесью бора этот уровень располагается выше верхнего края валентной зоны на расстоянии
= 0,08 эВ (рис. 11, б). Близость этих уровней к валентной зоне приводит к тому, что уже при сравнительно низких температурах электроны из валентной зоны переходят на примесные уровни и, связываясь с атомами бора, теряют способность перемещаться по решетке кремния, т.е. в проводимости не участвуют. Носителями тока являются лишь дырки, возникающие в валентной зоне.
2.5. Фотопроводимость полупроводников
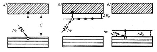
Фотопроводимость полупроводников — это увеличение электропроводности полупроводников под действием электромагнитного излучения. Она может быть связана со свойствами как основного вещества, так и содержащихся в нем примесей.
В первом случае при поглощении фотонов могут совершаться перебросы электронов из валентной зоны в зону проводимости когда энергия фотонов равна или больше ширины запрещенной зоны:
(рис. 12, а), что приведет к появлению добавочных (неравновесных) электронов (в зоне проводимости) и дырок (в валентной зоне). В результате возникает собственная фотопроводимость, обусловленная как электронами, так и дырками.
Если полупроводник содержит примеси, то фотопроводимость может возникать и при
. Для полупроводников с донорной примесью фотон должен обладать энергией
, а для полупроводников с акцепторной примесью —
. При поглощении света примесными центрами происходит переход электронов с донорных уровней в зону проводимости в случае полупроводника n-типа (рис. 12, б) или из валентной зоны на акцепторные уровни в случае полупроводника р-типа (рис. 12, в). В результате возникает примесная фотопроводимость, являющаяся чисто электронной для полупроводников n-типа и чисто дырочной для полупроводников р-типа.

Рис.12. К пояснению механизма фотопроводимости полупроводников
Явление фотопроводимости полупроводников очень широко используется в технике, например, в светоизмерительных приборах – люксметрах, фотометрах. На этом явлении основана электрография. В электрографических печатных машинах в качестве фоточувствительного рецептора применяют слои полупроводниковых веществ – селена, кремния и др. в виде поликристаллических и аморфных пленок, нанесенных на поверхность алюминиевого цилиндрического барабана.
